Las resistencias SMD (de montaje en superficie), son comúnmente usadas en circuitos electrónicos. Tienen una forma rectangular y ambos lados del resistor poseen una zona metálica para su soldadura en las placas de circuito impreso.
Resistencias SMD, serie RAB1Southern Group se especializa en la fabricación de Resistencias SMD de serie RAB1 de montaje en superficie. Suelen tener una forma rectangular y sus patillas de plomo se pueden soldar directamente en la placa de circuito impreso en lugar de atravesándola.
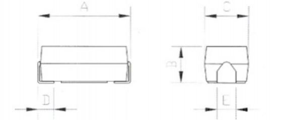
| Modelo | Potencia nominal (W) | Tensión de servicio maxima (V) | Intervalo de resistencia (Ω) | Dimensiones (mm) | ||||
| A | B | C | D | E | ||||
| RAB1-0.5 | 0.5 | 33 | 0.1-1K | 5.1±0.5 | 2.44 ±0.38 | 3.18 ±0.25 | 0.63min | 1.14±0.38 |
| RAB1-1 | 1 | 58 | 0.1-5K | 6.35 ±0.5 | 2.79 ±0.38 | 3.81 ±0.38 | 0.8min | 1.5±0.38 |
| RAB1-2 | 2 | 120 | 0.1-10K | 11.4 ±0.8 | 4.57 ±0.5 | 5.71 ±0.38 | 1.5 min | 2.0±0.38 |
| RAB1-3 | 3 | 250 | 0.1-20K | 20.6 ±0.8 | 6.99 ±0.5 | 6.93±0.5 | 2.16±0.5 | 2.79±0.5 |
| RAB1-5 | 5 | 300 | 0.1-30K | 20.6 ±0.8 | 6.99 ±0.5 | 6.93 ±0.5 | 2.16±0.5 | 2.79±0.5 |
| Ciclo de vida (1000h) | △R≤± (5%+0.1Ω) |
| Resistencia a la humedad | △R≤±(5%+0.1Ω) |
| Regulación de temperatura | △R≤±(1%+0.05Ω) |
| Coeficiente de temperatura | 300PPM/℃ |
| Fuerza dieléctrica | 500V |
| Soldabilidad | 95% de la superficie |
| Temperaturas máximas | -55~+125℃ |
Resistencias SMD, serie RAB2
Las resistencias SMD serie RAB2 fabricados por Southern Group tienen una altura mínima de 2.82mm, lo cual lo hace ideal para situaciones con problemas de espacio.
| Modelo | Potencia | Sobrecarga de corriente máxima | Intervalo de resistencia | Tensión de servicio máxima | Límite de tensión |
| RAB2-0.5 | 0.5 | 33V(10A) | 5-1MΩ | 200V | 500V |
| RAB2-1 | 1 | 58V (20A) | 0.1-1MΩ | 200V | 500V |
| RAB2-2 | 2 | 120V(30A) | 0.1-1MΩ | 250V | 625V |
| RAB2-3 | 3 | 200V (30A) | 1-1MΩ | 300V | 750V |
| RAB2-5 | 5 | 250V (30A) | 1-1MΩ | 350V | 875V |
| Modelo | L | H(Max) | W | A(Min) | B |
| RAB2-0.5 | 5.20±0.5 (0.204±0.020) | 2.82 (0.111) | 3.2±0.25 (0.125±0.010) | 0.63 (0.025) | 1.14±0.4 (0.045±0.015) |
| RAB2-01 | 6.55±0.5 (0.258±0.020) | 3.17 (0.125) | 3.80±0.40 (0.150±0.015) | 0.80 (0.232) | 1.50±0.4 (0.060±0.015) |
| RAB2-02 | 11.40±0.8 (0.449±0.032) | 5.13 (0.202) | 5.70±0.40 (0.20±0.02) | 1.50 (0.060) | 1.78±0.5 (0.070±0.020) |
| RAB2-03 | 15.90±0.8 (0.625±0.032) | 6.86 (0.270) | 7.00±0.38 (0.275±0.015) | 1.27 (0.050) | 2.16±0.4 (0.085±0.016) |
| RAB2-05 | 26.60±0.5 (0.811±0.020) | 7.49 (0.295) | 6.90±0.50 (0.273±0.020) | 1.60 (0.063) | 2.60±0.70 (0.102±0.028) |
Las resistencias SMD, también conocidas como resistores o resistencias de montaje en superficie, se caracterizan por su película delgada, y se usan en placas de circuito impreso. A continuación presentamos otros tipos de resistores que fabricamos, y sus especificaciones técnicas expuestas son personalizables. Póngase en contacto con nosotros si necesita atención personalizada para este tipo de producto, u otros componentes electrónicos pasivos como inductores o transformadores electrónicos.
Changzhou Southern Electronic Element Factory Co., Ltd.
Dirección: West No.6 Building, Xinxin Intelligent Industrial Park, No.1 Xinchang Road, Wuxing Street, Zhonglou District, Changzhou City, Jiangsu Province, P. R. China.
Persona de contacto: Safe Liu
Fax: +86-0519-83295710
Tel.: +86-0519-83976620